分类:
全部
区域能源
数字城市
新城建
绿色建筑
数字岩土
钢结构
生态治理
新型设备
新型建材
新型工艺工法
山地工程
一种塔式仓体的智能存储方法 本发明公开了一种塔式仓体的智能存储方法,在接收到存车需求后,首先判断仓体是否有空闲的存放空间,如有,驱动摆渡车位在回路轨道内移动,直至存车停靠处停止,将自行车放入摆渡车位,点击存车按钮,驱动摆渡车位对自行车进行夹紧,然后摆渡车位在回路轨道内向下移动,直至选定的空闲的存放空间,驱动摆渡车位将自行车推出至存放空间中,夹持机构将自行车夹持,摆渡车位解除对自行车的夹紧状态,并继续在回路轨道内移动至指定的待命位置停止,显示屏显示存车完成。本发明操作方便,节省自行车的占地面积。 立即咨询
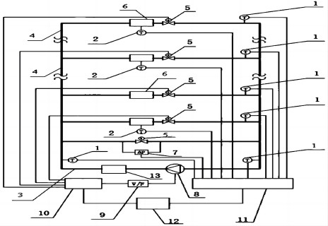
一种等温差变流量的水力平衡调节方法及系统 本发明涉及供热调节技术领域,尤其涉及一种等温差变流量的水力平衡调节方法,包括以下步骤:S1、对各环路上用户的室内温度ts、总环路的供水温度tg、各环路的回水温度ti及总环路的回水温度th进行采集,对总环路的供水管与回水管之间的压差Δp的数据参数进行采集;S2、计算出各环路上用户的室温偏差Δts、总环路的供回水温差Δt及各环路的供回水温差Δti;S3、对步骤S1采集的数据参数和步骤S2得出的数据结果进行分析比较,得出所需的总环路供水量的控制量和各环路供水量的控制量;S4、根据步骤S3得出的总环路供水量的控制量调节控制总环路供水量,得出的各环路供水量的控制量调节控制各环路供水量。采用动态调节方法来实时控制供水量,达到水力动态平衡,实现热力平衡。 立即咨询
一种城市街道设计方法 本发明提供的一种城市街道设计方法,包括:根据每个地区城市街道内构成要素的连接关系、根据每个地区城市胡同的宽度、以及根据城市胡同建筑界面的设计风格;然后,依据城市设计要求,对分类后的城市街道、分类后的城市胡同、以及分类后的胡同建筑界面进行指引。按照本发明提供的城市街道设计方法对街道进行设计指引,使得所在地区的城市街道具有以下优点:安全:保障公共空间安全和健康,维护治安稳定;有序:规范各种设施建设管理,各类活动安排文明有序;生态:构建生态效益强、多样性丰富、观赏价值高的城市生态网络;人文:塑造传统文化与现代文明交相辉映的城市特色风貌;舒适:提升空间环境服务品质,营造宜人、宽松、亲切的氛围。 立即咨询
一种预埋槽的覆盖结构 本实用新型提供一种预埋槽的覆盖结构,其包括:浇筑于管片中、具有中空内腔且一端面上具有开孔的预埋槽体,以及所述预埋槽体具有开孔的端面与管片的外端面之间的空腔,所述空腔内填充有填料。本实用新型的一种预埋槽的覆盖结构,结构简单,能够适用于大直径盾构施工中。 立即咨询
一种蓄能型板式换热器 本发明提供一种蓄能型板式换热器,包括依次夹紧于夹紧板中的第一蓄能板、第二蓄能板和第三蓄能板,通过在第一蓄能板、第二蓄能板和第三蓄能板上设置肋片及通孔,实现热量的交换过程。本发明的蓄能型板式换热器,能够有效提高热交换的效率。 立即咨询
一种村镇湿垃圾强化两相厌氧处理系统与方法 本发明公开了一种村镇湿垃圾强化两相厌氧处理系统和方法,包括湿垃圾预处理、秸秆预处理、两相厌氧发酵处理;本发明采用定向分选处理进行湿垃圾的前处理,得到高纯度的有机垃圾组分,并与秸秆以合理的比例混合,再进行独立的水解产酸反应和产甲烷反应,处理效果好,处理系统一体化程度好,极大提升了资源利用率。 立即咨询
一种路面铺装结构 本实用新型公开了一种路面铺装结构,包括由下到上依次设置的土石路基结构层、半刚性基层、连接层、混合料层,所述半刚性基层的厚度为30‑50cm,其结构采用密级配结构;所述混合料层是级配碎石、机制砂或石屑、BTA聚合物、乳化沥青、水泥的混合料。本实用新型能够在保证路面技术性能的基础上,实现常温施工条件,达到节能环保的目的。 立即咨询
一种预制沥青混凝土面层卷曲设备 本实用新型公开了一种预制沥青混凝土面层卷曲设备,包括:轨道;安装在所述轨道上的卷筒装置,用于将进行卷曲;连接所述卷筒装置的铲起装置,用于铲起所述预制沥青混凝土面层,以便于卷筒装置卷曲所述预制沥青混凝土面层。通过卷筒装置和铲起装置的配合,高效的实现预制沥青混凝土面层的卷曲和铺放。 立即咨询
一种摩擦型木制消能减震装置及具有其的木结构体系 本实用新型公开了一种摩擦型木制消能减震装置及具有其的木结构体系,摩擦型木制消能减震装置包括下侧木板墙和上侧木板墙,下侧木板墙与上侧木板墙之间通过木连接件连接,下侧木板墙和上侧木板墙分别设有燕尾状的凹槽,木连接件设有两个燕尾状的榫,两个榫分别插入到下侧木板墙和上侧木板墙的凹槽中。凹槽的底面与榫的顶面之间设有摩擦板,摩擦板通过化学粘胶或木制连接件与榫的顶面连接。木结构体系的主体结构之间连接有所述木制消能减震装置。主体结构与木制消能减震装置间为刚性连接。本实用新型可用于既有木结构建筑抗震性能的提升,也可用于新建木结构建筑。该消能减震装置可以耗散地震能量,减少木结构建筑在地震作用下的损伤,震后可以方便更换耗能构件。 立即咨询
用于测试建筑墙体的水密性能的装置 本实用新型涉及建筑节能领域,具体涉及一种用于测试建筑墙体的水密性能的装置。该装置包括:1)喷水单元,其包括盛水主体,所述盛水主体形成容纳腔且所述盛水主体配置有喷嘴阵列;其中,所述喷水单元具有至少一个回水口;以及2)水循环单元,其包括集水器和增压泵;其中,所述集水器具有进水口和出水口,所述出水口经所述增压泵与所述喷嘴阵列连通,以便将集水器内的水经喷嘴阵列送达待测试的建筑墙体;其中,所述容纳腔能够经所述至少一个回水口中的一个或者多个与所述进水口连通,以便将至少一部分送达待测试的建筑墙体的水回收至容纳腔之后,经回水口返回所述集水器。通过这样的设置,能够谋求通过循环的水体对待测试的建筑墙体的水密性能进行测试。 立即咨询
预制混凝土墙体 本实用新型提供一种预制混凝土墙体,包括第一混凝土墙板和至少一块第二混凝土墙板以及连接板,第一混凝土墙板和第二混凝土墙板侧面沿顶部至底部的方向上开设有多个并排间隔设置的安装槽;连接板的两端适于分别插设于第一混凝土墙板和第二混凝土墙板开设的安装槽,以对第一混凝土墙板和第二混凝土墙板进行连接;其中,还包括限位柱,第一混凝土墙板和第二混凝土墙板顶面朝向底面的方向上开设有多个与安装槽相连通的导向通道,限位柱插设于导向通道并穿设于连接板。通过上述方式,第一混凝土墙板和第二混凝土墙板之间连接稳定性更强,且因为第一混凝土墙板和第二混凝土墙板之间可拆卸连接,如此可以提高拆装效率。 立即咨询
一种装配式组合新型保温墙体 本实用新型公开了一种装配式组合新型保温墙体,包括:墙体模块1、工字型内柱2、附加保温板3、框架结构7、U型内柱9,所述的工字型内柱2和U型内柱9由带内翼缘和腹板组成的构件4和外翼缘5组成,所述的外翼缘5通过绝热自攻螺栓8与构件4相连。本实用新型可人工拼装、施工方便、快捷,同时,该墙体体系新颖、保温防火、抗震可靠,可广泛应用于建筑结构。 立即咨询
共129条 2 3 4 5 6  ···  11 前往