分类:
全部
区域能源
数字城市
新城建
绿色建筑
数字岩土
钢结构
生态治理
新型设备
新型建材
新型工艺工法
山地工程
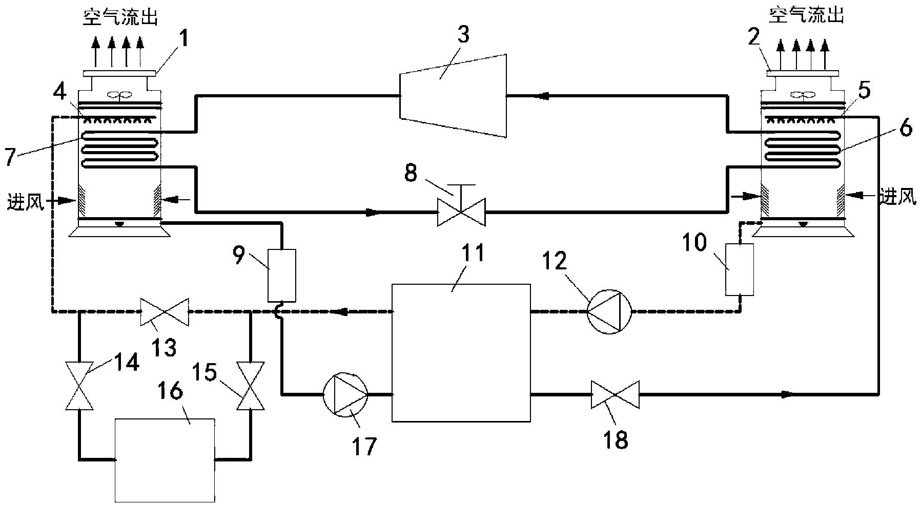
热力装置及天然气防冻堵系统 本发明提供一种热力装置及天然气防冻堵系统,属于能源供应技术领域。热力装置,包括热源、第一换热器、第二换热器、第三换热器、引射器、四通阀以及膨胀机;热源与第一换热器管道连接形成第一循环,热源与第二换热器管道连接形成第二循环,第一换热器、引射器、膨胀机、四通阀以及第三换热器依序管道连接形成第三循环,第二换热器、四通阀以及第三换热器依序管道连接形成第四循环,第三换热器可接入天然气管网,四通阀还与引射器管道连接。天然气防冻堵系统,包括上述的热力装置,热力装置的第三换热器与天然气管网的气源通过管道连接,天然气管网的调压站与第三换热器或热力装置的第四换热器通过管道连接,以使热力装置接入天然气管网。 立即咨询
一种双源热泵供热系统 本实用新型涉及供热技术领域,公开了一种双源热泵供热系统,包括污水处理系统;空气源热泵热水机组,空气源热泵热水机组的污水侧进水口与污水处理系统的二级出水口相连通,空气源热泵热水机组用于加热从污水处理系统的二级出水口输送出的二级出水;污水源热泵机组,污水源热泵机组的污水进水口与空气源热泵热水机组的污水侧出水口相连通;以及末端散热设备,末端散热设备的进水口与污水源热泵机组的供热热水出水口相连通,末端散热设备的出水口与污水源热泵机组的供热热水进水口相连通,其中,污水源热泵机组能够吸收被加热后的二级出水的热能,并将热能输送给末端散热设备。该双源热泵供热系统具有节能环保、供热效率高以及节省成本的优点。 立即咨询
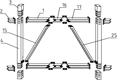
一种可替换耗能梁的装配式偏心支撑钢框架体系 本实用新型公开了一种可替换耗能梁的装配式偏心支撑钢框架体系,焊有端板梁与钢管柱竖向拼接在同一节点处,上柱的封底板焊有预留螺栓孔内芯嵌入下柱后在节点处与外柱及端板通过同一贯通高强螺栓连接;下层梁柱节点螺栓拼接后,将槽钢斜撑竖直段嵌入焊有预留对齐高强螺栓孔的柱耳处,采用大直径高强摩擦型螺栓连接,偏心斜支撑上部水平段与两侧梁拼装对位后采用高强螺栓连接;耗能梁两端腹板处预留有高强螺栓孔与两侧梁对位后,两边各用两块预留螺栓孔拼接板螺栓连接。本实用新型采用全螺栓装配,施工速度快,质量可靠,引入的偏心支撑改善了结构变形性能,可替换耗能梁实现预期地震作用下的可恢复性能。 立即咨询
积水路面抗滑性能评估方法及系统 本发明提供一种积水路面抗滑性能评估方法及系统,涉及交通安全技术领域,方法包括:基于预先建立的沥青路面试验模型,获取在不同积水层厚度以及不同速度下,车辙试件上的目标测点的动摩擦系数;根据所述动摩擦系数,对积水沥青路面抗滑性能进行评估。所述系统执行所述方法。本发明可避免因为测试装置与试验对象带来的局限,提高测试结果的准确度与科学性,并对已有的路面抗滑胎‑路‑水模型进行指导与优化,使积水路面抗滑性能评估结果准确可靠,更好地服务于路面设计及性能评价工作。 立即咨询
城市景观影像数据的融合方法及系统 本发明公开了一种城市景观影像数据的融合方法及系统,涉及地理信息技术领域,能够有效展示更全面的城市景观影像数据,提高城市景观影像数据展示的完整性。所述方法包括:获取通过地面采集设备采集到的第一城市景观影像数据;获取通过空中采集设备采集到的第二城市景观影像数据;按照预设映射关系将所述第一城市景观影像数据与所述第二城市景观影像数据进行对齐与拼接,得到融合后的城市景观影像数据,所述预设映射关系为所述第一城市景观影像数据、所述第二城市景观影像数据与地理坐标系之间的映射关系。本发明主要用于城市景观影像数据的融合。 立即咨询
一种建筑物实景地图制作方法及系统 本发明实施例提供一种建筑物实景地图制作方法及系统,该方法包括:构建目标实景的BIM模型,并根据几何结构,对BIM模型的模型结构进行分类处理,得到第一分类几何结构和第二分类几何结构;根据第一分类几何结构的语义类型,将第一分类几何结构的模型数据存储为第一文件格式数据;根据第二分类几何结构的语义类型,将第二分类几何结构的模型数据存储为第二文件格式数据;获取目标实景的纹理数据,并将纹理数据分别与第一文件格式数据和第二文件格式数据进行坐标匹配,以得到目标实景对应的实景地图。本发明实施例提高了建筑物室内外实景地图的精度,使得建筑物实景地图更有效的应用于三维场景的定位和导航。 立即咨询
一种箱式模块化钢结构组合柱铰接框架-支撑结构体系 本发明涉及模块化建筑技术领域,提供一种箱式模块化钢结构组合柱铰接框架‑支撑结构体系。为解决既有模块化建筑的建造高度低、连接节点构造复杂和抗震性能弱等问题,本发明通过:把槽钢双拼框架梁和拼接组合框架柱的连接节点设计成铰接,形成铰接框架结构;在建筑平面的水平、竖直方向各布置一定数量的钢支撑,构成了抗侧力子结构;两者共同形成了箱式模块化钢结构组合柱铰接框架‑支撑结构体系,实现竖向抗力和水平抗力解耦,仅通过对抗侧力子结构进行设计,可快速满足不同抗震性能需求。本体系可实现:明确的传力路径、高装配率,构造简单、施工快捷,可增加模块化建筑的建造层数。 立即咨询
一种无露点控制的空调系统及控制方法 一种无露点控制的空调系统及控制方法,属于集成压缩制冷系统和溶液除湿技术领域。冷凝器、膨胀阀、蒸发器和压缩机依次连接形成闭环,构成压缩式制冷单元;冷凝器的溶液出口经浓溶液罐、浓溶液泵与溶液换热器的第一进口相连接,溶液换热器的第一出口经第一调节阀与蒸发器内部的浓溶液喷淋管相连接;蒸发器的出口经稀溶液罐、稀溶液泵与溶液换热器的第二进口相连接,溶液换热器的第二出口经第二调节阀或者经过第四调节阀、太阳能装置、第三调节阀与冷凝器内部的稀溶液喷淋管相连接,构成溶液除湿单元。与传统的空调系统相比,本发明兼具集成蒸汽压缩式制冷和溶液除湿技术,实现了一种无露点控制空调系统。 立即咨询
一种高温辐射热回收换热装置 一种高温辐射热回收换热装置,所述装置包括拱形换热结构、空气侧风机和空气侧气‑水换热器。所述拱形换热结构包括拱形换热面和由拱形换热面围成的烟气风廊;拱形换热面从内到外依次包括第一层换热面、第二层换热面和第三层换热面;第二层换热面呈三角折型排布,该换热面与第一层和第三层换热面形成具有三角形空腔结构的空气通道。该装置还包括可拆卸的移动滑轨。本实用新型可同时回收工业高温辐射热和对流热,大幅度提高余热回收率,有效减少热损失。对不稳定工业高温余热深度回收,可将不稳定的余热转变为周期稳定余热进行利用。同时采用了可拆卸的移动滑轨,可在多台不同工业炉中循环使用,从而节约设备造价与运行成本。 立即咨询
一种卧式喷淋式烟气余热梯级利用系统 本实用新型涉及烟气余热回收技术领域,尤其涉及一种卧式喷淋式烟气余热梯级利用系统。该系统包括喷淋式换热单元、第一级喷淋式余热回收单元、第二级喷淋式余热回收单元和第三级喷淋式余热回收单元,其中所述喷淋式换热单元的左端连接有进烟管,所述喷淋式换热单元的右端连接有排烟管,所述的第一级喷淋式余热回收单元、第二级喷淋式余热回收单元和第三级喷淋式余热回收单元从左到右依次与所述喷淋式换热单元相连。该系统能够分阶段回收烟气余热,有效回收烟气中的潜热,降低排烟的温度,换热更加充分,同时水与烟气直接接触,能够净化烟气中的部分杂质,减少排烟对环境的污染,提高了烟气的利用率,具有结构简单、操作方便的优点。 立即咨询
一种卧式喷淋式烟气余热梯级利用系统 本实用新型涉及烟气余热回收技术领域,尤其涉及一种卧式喷淋式烟气余热梯级利用系统。该系统包括喷淋式换热单元、第一级喷淋式余热回收单元、第二级喷淋式余热回收单元和第三级喷淋式余热回收单元,其中所述喷淋式换热单元的左端连接有进烟管,所述喷淋式换热单元的右端连接有排烟管,所述的第一级喷淋式余热回收单元、第二级喷淋式余热回收单元和第三级喷淋式余热回收单元从左到右依次与所述喷淋式换热单元相连。该系统能够分阶段回收烟气余热,有效回收烟气中的潜热,降低排烟的温度,换热更加充分,同时水与烟气直接接触,能够净化烟气中的部分杂质,减少排烟对环境的污染,提高了烟气的利用率,具有结构简单、操作方便的优点。 立即咨询
顾及三维拓扑的地下工井设施建模方法 本发明提供了顾及三维拓扑的地下工井设施建模方法,步骤包括:点云精简;提取出工井点云主轴;将原始点云旋转,使得原始点云沿着主轴方向正立与三维空间中;构建三角面片实现工井模型的简易化建模步骤包括:a)工井顶面点云提取并进行平面拟合;b)工井底面点云提取并进行平面拟合;c)依据顶面边界线、底面边界线和顶面和底面之间的高度构建三角面片以进行贴合点云数据的简易化建模;工井模型部件构建。本发明能够适应多种点云类型,算法适应性强;本发明模型贴合实际点云,构建的模型质量好;本发明对比常用的曲面重建算法本发明构建模型速度快,实用性较强本发明实现内部管线与外部点云的有机统一,很好的满足实际场景的重现。 立即咨询
共129条 1 2 3 4 5  ···  11 前往