分类:
全部
区域能源
数字城市
新城建
绿色建筑
数字岩土
钢结构
生态治理
新型设备
新型建材
新型工艺工法
山地工程
塔式起重机三维激光扫描检验方法 本发明提供一种塔式起重机三维激光扫描检验方法。该方法包括利用三维激光进行扫描,获取当前塔式起重机的三维结构图形,并构建第一坐标系。 立即咨询
道路径流弃流系统及道路径流渗滤系统 本实用新型提供了一种道路径流弃流系统及道路径流渗滤系统,本实用新型提供的道路径流弃流系统避免了融化雪水直接流入土壤或者直接渗入地下,从而防止夹杂在雪水中的融雪剂对土壤、植物以及地下水造成污染。 立即咨询
一种热电联产复合供能系统及其工作方法 本发明涉及一种热电联产复合供能系统,本发明提供了热电联产复合供能系统的工作方法,并且可以根据实际需求采用不同的运行模式:“光伏发电+热管集热”模式、“光伏发电+光伏热泵循环+热管集热”模式、“空气源热泵循环”模式。在热管集热和光伏热泵循环不能满足需求的情况下,空气源热泵循环作为辅助措施,确保系统安全稳定运行。 立即咨询
预制混凝土墙体 本实用新型提供一种预制混凝土墙体,包括至少两块对应设置的混凝土墙板,混凝土墙板相对设置的侧面上开设有安装槽;还包括连接板,与混凝土墙板上的安装槽相连接且与所述安装槽之间形成安装间隙,通过向安装间隙内加入连接材料以增加多块混凝土墙板的连接整体性。通过上述方式,通过连接板对混凝土墙板进行连接,而且向连接板与安装槽之间形成的安装间隙内加入连接材料以提高多块混凝土墙板的连接整体性,由此本实用新型提供的预制混凝土墙体结构简单,且拆装方便,也不需要求很高的精度,由此便于推广实施。
一种供非机动车行驶的拼装轻型钢结构天桥 本发明公开了一种供非机动车行驶的拼装轻型钢结构天桥,包括拼装式天桥,所述拼装式天桥由天桥模块单元、天桥起坡段和天桥下坡段组合而成,且根据路口长度的不同,可由多组所述天桥模块单元拼接构成天桥标准段。该供非机动车行驶的拼装轻型钢结构天桥,拼装轻型钢桥可以实现非机动车全段无信号灯、快速通过;可以实现非机动车专道专用,不再出现与机动车抢道的不良交通问题;利用现有路面结构嵌固桥梁基础,对现状交通路面影响小,工期远远小于常规高架桥项目;拼装轻型钢桥属于模块式产品,可批量生产,根据实际需要现场安装拆卸、组合方便;且上下部结构均采用钢结构,可以拆卸循环使用,绿色环保。 立即咨询
用于幕墙安装连接点的加固方法、加固结构及幕墙装配系统 本发明涉及石材幕墙的安装工程技术领域,尤其涉及一种用于幕墙安装连接点的加固方法、加固结构及幕墙装配系统。该加固结构的次龙骨角钢通过挂件与面板本体连接,面板本体的端面开具有凹槽,挂件的一端贴靠在凹槽的槽底,另一端固接在角钢上;挂件与凹槽之间夹装有预制垫片,预制垫片与挂件直接接触,用于将面板本体正面承受的载荷传递至面板本体的背面上,以降低挂件与面板本体之间的冲击应力和剪切应力,使幕墙装配系统受到较大荷载时,既能利用预制垫片避免在挂件与面板本体之间的直接接触,从而减少应力集中问题的产生,又能提高面板主体的凹槽位置的抗冲击能力和剪切承载能力;该加固方法能简化工艺流程,提高效率,降低生产成本。
基于机器学习的建筑垃圾分类方法及装置 本发明公开了一种基于机器学习的建筑垃圾分类方法及装置,所述方法通过获取待分类的建筑垃圾的卫星影像数据、并对所述卫星影像数据进行图像预处理,得到高分辨率多光谱的建筑垃圾遥感图像;并将所述高分辨率多光谱的建筑垃圾遥感图像输入预先建立的基于机器学习的建筑垃圾自动分类模型,得到相应的建筑垃圾分类结果。本发明方法实施例基于机器学习建立的分类模型有效地对建筑垃圾遥感影像进行自动识别、并将建筑垃圾分类出来,实现了对建筑垃圾的快速定位,并且其对建筑垃圾自动分类精度与传统方法相比较高,大大减少人力物力,提高工作效率。
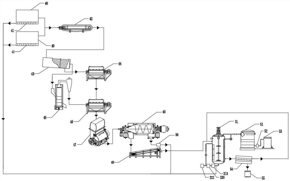
一种集成式一体化湿垃圾原位资源化处理系统和处理方法 本发明公开了一种集成式一体化湿垃圾原位资源化处理系统和处理方法,包括:进料与卸料单元、预处理单元、快速干式发酵单元、肥料制备单元、沥出液处理和回用单元、含恶臭和微生物气溶胶气体处理单元及自动监测和控制单元;且利用上述系统实现集中收集和处理偏远或分散城市、城镇或农村地区产生的湿垃圾;本发明不仅工艺流程简洁,集预处理、堆肥、沥出液以及恶臭和微生物气溶胶处理为一体;缩短堆肥时间,提高堆肥效率和资源化程度;而且对沥出液和含恶臭和微生物气溶胶气体进行循环利用和无害化处理,避免污染环境;同时系统化配置的自动监测和控制单元,实现PC端、手机端和云数据交互及远程控制,信息化程度更高,便于监控和管理。
一种序批式雨水调蓄池 本发明提供一种序批式雨水调蓄池,涉及给排水系统技术领域,包括池体和阀门装置,所述池体包括沉淀池和蓄水池,所述沉淀池设置有多个,多个所述沉淀池位于所述蓄水池的上部;每个所述沉淀池内均设置有一个所述阀门装置,所述沉淀池环绕所述阀门装置布设,所述沉淀池靠近所述阀门装置的一侧上下分别设置有进水口和出水口,所述蓄水池的底部设置有排水口。本发明使雨水中的沉降性污染物易于在沉淀池沉积以及清理方便,具有初期雨水分离作用,优化其调蓄净化功能。
直膨式热泵装置以及集热液体的流程控制方法 本发明涉及一种直膨式热泵装置以及集热液体的流程控制方法,装置包括:热泵循环支路,其包括第一支路和第二之路;其中,所述第一支路包括依次相连的压缩机和冷凝器;其中,所述第二支路包括换热器;以及太阳能集热器,其包括壳体以及置于所述壳体内的集热部;其中,所述集热部包括进液分液管、出液集液管以及置于二者之间的脉动热管集热单元;其中,所述脉动热管集热单元包括复合抛物聚光器、脉动热管吸热器和套管换热器,集热液体在所述进液分液管、所述出液集液管和至少一部分所述套管换热器之间形成流动路径。本发明的热泵装置能够通过调整集热液体的流程来满足供热需求。 立即咨询
一种自清洁和抑垢的污水换热器 本发明公开了一种自清洁和抑垢的污水换热器,该换热器结构紧凑,金属耗量小,污水适应范围广,且无需配合除垢设备使用,长期运行不易结垢,并能保持较高的换热效率。 立即咨询
三维激光扫描仪外置相机联合获取三维彩色点云的方法 本发明公开了一种三维激光扫描仪外置相机联合获取三维彩色点云的方法,通过在三维激光扫描仪上外置相机,实现由三维激光扫描仪得到的全景三维点云与相机拍摄的多张影像的多源数据融合,从而得到三维彩色点云,其采用三维激光扫描仪和外置相机进行联合标定,并建立三维全景点云与多张影像的几何对应关系,实现全景影像与三维激光点云的纹理映射,获取具有丰富纹理信息的彩色点云,且精度和效率显著优于现有的获取方法。 立即咨询
共129条 1 2 3 4 5  ···  11 前往